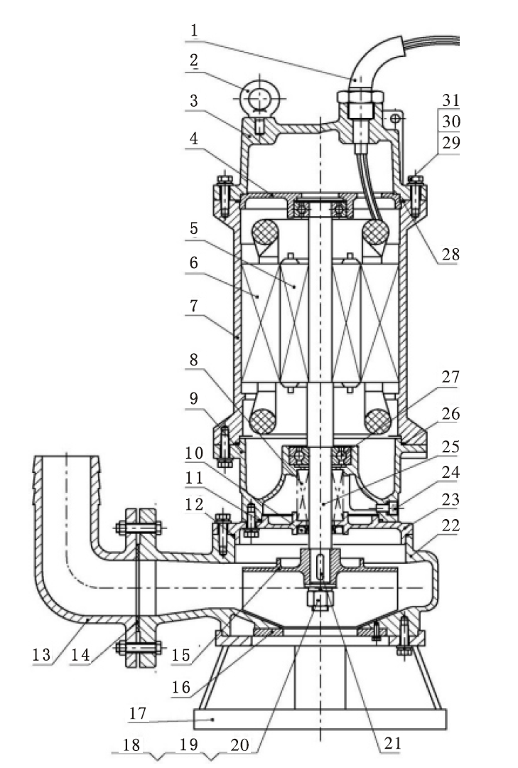
PERFORMANCE RANGE
Flow rate up to 90m³/h※ Head up to 30m
OPERATING LIMITS
Medium temperature:0~40℃
The diving depth should be less than: 5m

PERFORMANCE RANGE
Flow rate up to 90m³/h※ Head up to 30m
OPERATING LIMITS
Medium temperature:0~40℃
The diving depth should be less than: 5m

Reviews
There are no reviews yet.